Les MODEMS

Objectifs

5.1 Introduction

Depuis que le premier message télégraphique a été transmis par Morse, les télécommunications ont été limitées par le nombre de lignes de communication (nombre de fils) installées. Les lignes utilisées par le télégraphe et par le téléscripteur sont coûteuses à l'installation et à l'entretien.  Les équipements télégraphiques, de même que le téléscripteur sont dispendieux et surtout difficiles à opérer. Ils occupent beaucoup d'espace et demandent que leurs opérateurs possèdent des habiletés particulières. C'est pourquoi ce type de télécommunications n'a que très peu été utilisé en dehors de l'industrie, du gouvernement et des forces armées.

L'avènement du téléphone a changé le monde des télécommunications de façon dramatique.  Le téléphone est petit, facile d'opération et peut donc être fabriqué et commercialisé directement auprès du grand public. Mais malgré sa grande popularité, le téléphone ne pouvait résoudre le problème de l'importance de transmettre des documents écrits. Les fabricants de téléscripteurs ont donc pensé à utiliser les lignes téléphoniques reliant presque toutes les villes du monde. C'est ce qui a donné naissance au téléscripteur, au modem, puis au bélinographe (fax).

Les lignes téléphoniques ont été conçues pour ne transmettre que la voix humaine. Elles ont donc des caractéristiques minimales : leur bande passante n'est que de 300 Hz à 3300 Hz dans le domaine des fréquences. Il fallait donc une pièce d'équipement qui convertirait les niveaux de tension continue, représentant les bits, en fréquences similaires à celles de la voix. Voilà que le modem fait son apparition.

Les premiers modems furent utilisés pour permettre de relier des téléscripteurs entre eux par l'intermédiaire du réseau téléphonique. Puis, ils permirent de relier entre eux des ordinateurs, et des terminaux à des ordinateurs. Enfin, les bélinographes (fax) sont des photocopieurs doublés d'un modem utilisant un algorithme de compression des données.

L'un des problèmes majeurs qu'ont eu à surmonter les fabricants de modems fut la réticence des compagnies de téléphone à laisser n'importe qui se brancher sur leur réseau. Au début, elles interdisaient que l'on branche un appareil qu'eux mêmes ne commercialisaient pas. C'est alors que les fabricants ont créé le coupleur acoustique formé d'un haut-parleur et d'un microphone que l'on plaçait à proximité du combiné téléphonique (voir figure 5.1). Puis, les gouvernements ayant légiféré pour obliger les compagnies de téléphone à accepter que l'on puisse brancher des appareils autres sur le réseau téléphonique, les fabricants se sont mis à produire des modems à couplage électrique. Une seule restriction : les fabricants doivent faire approuver leurs appareils par le Ministère de l'industrie et du commerce au Canada, et par le DOC (Department of Communications) aux états-Unis. Tous les appareils destinés à être branchés sur le réseau téléphonique doivent être munis d'un interface de ligne appelé DAA (Data Access Arrangement).

La figure 5.2 montre comment peut être réalisé un tel interface.

Figure 5.1 : Modem à couplage acoustique.

Figure 5.2 : Interface de ligne téléphonique typique

5.2 Types de modulation

Il existe une grande variété de modems se caractérisant par :

-            le mode de transmission: synchrone ou asynchrone;

-            le type de modulation utilisé: ASK, FSK, PSK, DPSK, QAM

-            la vitesse de transmission;

-            le type de fonctionnement: simple duplex, semi-duplex ou duplex intégral.

De plus, les modems sont maintenant équipés d'une unité de composition automatique (voir figure 5.3) permettant de composer le numéro du destinataire à partir du clavier de l'ordinateur.  Ils possèdent également un compteur de sonneries leur permettant de répondre automatiquement après un certain nombre de sonneries pré-programmé.

Figure 5.3 : Modem avec unité de composition automatique

En Amérique, les modems sont classifiés selon les normes de Bell. En Europe, ils doivent se conformer aux divers avis du CCITT Le tableau 5.1 trace un aperçu du système de classification de Bell. Le tableau 5.2 nous donne une liste d'un certain nombre de modems standards de Bell et leur équivalent CCITT, Notons que ceux de la série 100 selon Bell fonctionnent avec des vitesses inférieures à 300 bps et ceux de la série 200, jusqu'à 9600 bps, et tous fonctionnent en mode asynchrone-série. Par contre, les modems de la série 400 fonctionnent en mode asynchrone parallèle à une vitesse allant jusqu'à 75 caractères par seconde. Les modems de la série 600 acceptent des signaux analogiques et sont utilisés en facsimilé pour transmettre l'écriture à la main, les photos, les schémas et les électrocardiogrammes.

Série

Largeur de bande

Vitesse de transmission

Type de transmission

Type de signal

100

étroite et vocale

300 bps max.

série

numérique

200

vocale

9600 bps max.

série

numérique

300

large bande

jusqu'à 460 Kbps

série

numérique

400

étroite

75 cor./s max.

parallèle

numérique

600

vocale

900 car./s max.

parallèle

analogique

Tableau 5.1 : Les séries de modems Bell et leurs caractéristiques

Débit (bps)

Mode de transmission

Avis du CCITT

Système Bell

Synchronisation

Voie de retour

300 (FSK)

Duplex 2 fils

V.21

103A

Asynchrone

 

600/1200

(F5K 2 états)

Demi-duplex 2 fils ou duplex 4 fils

V.23

102

Sync/Async

Optionnel

75 baud

1200/2400

(DPSK 4 états)

Duplex 4 fils

V.22

202A

Async/ Sync

 

1200/2400

(QAM 16 états)

Demi-duplex ou duplex

V.22bis

 

Async/ Sync

 

2400

(DPSK 4 états)

demi-duplex 2 fils ou duplex 4 fils

V.26

201B

Synchrone

Optionnel

75 baud

1200/2400

(DPSK 4 états)

Demi-duplex ou duplex

V.26bis

 

Synchrone

Optionnel

75 baud

1200/2400

(DPSK 8 états)

Demi-duplex ou duplex

V.26 ter

 

Synchrone

Optionnel

75 baud

4800

(DPSK 8 états)

Duplex 4 fils

V.27

208A

Synchrone

Optionnel

75 baud

2400/4800

(DPSK 8 états)

Demi-duplex ou duplex

V.27bis

 

Synchrone

Optionnel

75 baud

2400/4800

(DPSK 8 états)

Demi-duplex ou duplex

V.27ter

 

Synchrone

Optionnel

75 baud

4800/7200/9600

(QAM 16 états)

Duplex 4 fils

V.29

209A

Synchrone

 

4800/7200/9600

(QAM 4 ou 32 états)

duplex

V.32

 

Sync/Async

 

4800/7200/9600

12000/14400

duplex

V.32bis

 

Sync/Async

 

12000/14400

(QAM)

duplex

V,27

Synchrone

 

2400/4800/7200  

9600/12000

14400/16800

19200/21600

24000/26400

28800

(QAM 16,32

ou 64 états)

duplex

V.34

 

Synchrone

 

Tableau 5.2 : Quelques modems standards de Bell et leurs équivalents CCITT.

Il existe d'autres avis du CCITT concernant la communication numérique. Par exemple, le CCITT a publié les avis V.24, très proches de la RS232 C, décrivant le connecteur, les circuits et les niveaux logiques de l'interface entre un ordinateur et un modem. L'avis V.42 et le plus récent - le V.42bis - décrivent les algorithmes utilisés pour la détection et la correction d'erreurs de transmission, ou encore les algorithmes de compression des données utilisés.

5.2.1 Modulation d'amplitude

Les premiers modems construits utilisaient la modulation d'amplitude ou ASK (Amplitude Shift Keying). Le signal choisi était le plus simple possible, c'est-à-dire un sinus ayant une fréquence voisine de la fréquence centrale de la bande passante du réseau téléphonique. La première méthode employée fut de transmettre cette fréquence lorsque la donnée numérique valait «1», et de ne rien transmettre lorsque la donnée numérique valait «0».

En souvenir de l'époque du télégraphe, le «1» est appelé Mark alors que le «0» est appelé SpaceCe type de modulation semble le plus simple possible, mais la transition période sans sinus à période avec sinus pose quelques problèmes aux lignes de transmission, et une ligne telle que la ligne téléphonique ne permet pas que cette transition soit instantanée, à cause de sa faible bande passante. Ce type de modulation est en effet une modulation d'amplitude à double bande latérale et nécessite une assez grande largeur de bande.

La deuxième méthode employée fut de transmettre deux amplitudes du même sinus: une amplitude pour chacun des deux états logiques du signal numérique. Il fallait de plus filtrer le signal pour en faire une modulation d'amplitude à bande latérale unique, ce qui exige une bande passante deux fois moins grande que la précédente.

Mais, dans les deux cas, on arrive à une vitesse de transmission relativement faible. On peut calculer la limite théorique de ce type de modulation en supposant que la fréquence choisie est d'environ 2000 Hz. Le théorème de Nyquist nous apprend que le démodulateur a besoin de deux longueurs d'onde pour reconnaître la fréquence transmise: deux longueurs d'onde d'un sinus à 2000 Hz durent une milliseconde. Chacun des bits transmis devra donc s'étendre sur une durée d'une ms afin de permettre la démodulation au niveau du récepteur, ce qui nous permet de conclure que l'on ne pourra transmettre à des vitesses supérieures à 1000 bits par seconde ou 1 kbit/s. En augmentant légèrement la fréquence de 2000 Hz, on pourrait atteindre 1200 bits/s. La plupart des modems ASK existants ne dépassèrent pas 300 bits/s.

5.2.2 Modem FSK

En plus d'une faible vitesse de transmission, le principal problème rencontré avec la modulation ASK est sa très grande susceptibilité au bruit. Tout comme la radiophonie MA, le bruit s'ajoute ou se soustrait directement de l'amplitude du signal. C'est pourquoi, les fabricants de modems ont très vite passé à la modulation de fréquence ou FSK (Frequency Shift Keying). Il s'agit donc de choisir deux fréquences entre 300 Hz et 3,3 kHz, chacune représentant l'une des deux valeurs binaires. En plus d'être immunisée contre le bruit, la démodulation est beaucoup plus fiable: le récepteur détecte la présence d'une fréquence représentant le «1» par exemple et, en même temps, il s'assure que l'autre fréquence représentant le «0» est absente. Le modem 103A de Bell (ou V.21 de CCITT) est un modem de type FSK et, dans ce cas, le modem d'où origine l'appel (ou modem de départ) utilise les fréquences 1070 Hz pour le «0», et 1270 Hz pour le «1». Le modem qui reçoit l'appel (ou modem d',arrivée) utilise quant à lui une autre paire de fréquence :  2025 Hz pour le «0» et 2225 Hz pour le «1». Le fonctionnement en duplex intégral est possible puisque l'appelant et l'appelé utilisent des paires de fréquences différentes. Lorsque ce modem est utilisé en demi-duplex à 1200 baud, les fréquences sont alors de 1200 Hz pour le «0» et de 2200 Hz pour le «1» (figure 5.4).

Figure 5.4 : Le principe du modem 103A de Bell (V.21 du CCITT).

Certaines compagnies manufacturières de circuits intégrés produisent actuellement ces modems à l'aide d'une paire de circuits intégrés. Ainsi, le modem Bell 103A peut être fabriqué à partir des circuits XR 2206 et XR 22211 de Exxar (figure 5.5).

Figure 5.5 : Modem FSK réalisé avec les circuits EXXAR


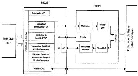
On peut aussi considérer la famille 89024 de la compagnie Intel, Cette paire de circuits (le microcontrôleur 89026 accompagné du circuit d'interface analogique 89027) est quasi suffisante pour réaliser un modem. Cette dernière paire de circuits se présente en plusieurs versions différentes. Par exemple, la série 89024, c'est-à-dire la paire 89026 et 89027, permet la compatibilité avec les avis V.22A, V.22B, V22bis et V.21 du CCI'RT, de même qu'avec les normes Bell 212A et Bell 103. De plus, cette série permet l'interfaçage RS232 et V24 alors que la série 89024FT, c'est-à-dire la paire 89C026FT et 89C027FT, permet la compatibilité V.42 et V.42bis en plus des autres standards de la série 89024. Vous trouverez le schéma fonctionnel d'un modem construit avec cette dernière paire de circuits à la figure 5.6.

Figure 5.6 : Modem 89024 par Intel

5.2.3 Modems PSK et QAM

Dans les chapitres précédents, on a vu que l'on pouvait représenter des signaux multi-niveaux comme (00, 01, 10 et 11) par différentes valeurs de déphasage d'une onde sinusoïdale. Ainsi, il nous faudrait quatre valeurs d'angle de phase pour représenter les quatre niveaux possibles :

00 = 0°

01 =90°

10 =180°

11 = 270°

Pour représenter 8 niveaux, il nous faudrait donc 8 angles différents. Il nous apparaît évident que cette technique de modulation sera limitée par la gigue de phase due au bruit.

En pratique, on combinera la modulation d'amplitude à la modulation de phase. La modulation d'amplitude d'une porteuse en quadrature est considérée comme un cas particulier de la modulation de phase et est appelée QAM (Quadrature Amplitude Modulation).

Par exemple, la modulation QAM à 32 états signifie qu'il existe 32 combinaisons d'amplitude et de phase combinées dans le signal transmis. Donc, chaque état du signal encode 5 bits; ainsi, il suffira de moduler au taux de 1920 bauds pour obtenir un débit effectif de 9600 bps (5 bits x 1920 bauds = 9600 bps).

5.3 Compressions de données

Il existe de nombreux algorithmes de compression des données: pensons aux nombreux logiciels qui compriment les fichiers sur le disque d'un ordinateur pour se rendre compte que chacun croit avoir trouvé la meilleure façon de réduire l'espace occupé par l'information binaire.

Dans le monde des communications par modem, une compagnie américaine s'est imposée et sa nomenclature est devenue un standard établi: les protocoles développés par la compagnie Microcom pour ses modems ont pris le nom de MNP (Microcom Networking Protocol).

Les différents protocoles MNP sont nommés MNPI, MNP2, MNP3, etc. Les premiers n'acceptent que la correction d'erreur au niveau de l'octet alors que les derniers opèrent la compression des données tout en permettant la correction d'erreur au niveau du paquet ou du bloc.

Parmi les plus répandus, remarquons le MNP4 qui permet la correction d'erreur au niveau du bloc. Les blocs sont de dimension variable, s'adaptant à la qualité de la ligne. Le MNP5, quant à lui, comprime les données par une combinaison du code d'Huffman et du RLE (Run Length Encoding). Le MNP7 incorpore en plus un algorithme de prédiction et il peut atteindre un taux de compression de trois.

L'avis V.42 bis du CCI'RT pour la compression des données a été construit à l'aide d'un amalgame des protocoles MNP2, INP3 et MNP4.

5.4 Modems asynchrones et synchrones

Nous avons vu que certains types de modems fonctionnaient de manière synchrone et que plusieurs pouvaient fonctionner de manière asynchrone ou synchrone. Dans tous les cas, cependant, ces modems sont reliés à des ordinateurs ou à des terminaux utilisant des circuits intégrés de sérialisation des données de type asynchrone. Ceci est rendu possible puisque les modems peuvent communiquer avec l'ordinateur auquel ils sont reliés de manière asynchrone, et souvent par l'intermédiaire d'un lien de type RS232 C, tout en établissant une communication de type synchrone avec l'autre modem avec lequel ils communiquent.

Le type de modulation, le débit et le protocole utilisé pour la communication entre les modems dépendra surtout du type de lien ou de support de communication qui les relie. En ce qui concerne la ligne téléphonique, il est possible d'utiliser la communication synchrone et d'atteindre de hauts débits sur le réseau commuté alors que si on utilise le réseau par satellite, les bandes passantes sont altérées par les transpositions de fréquences et par le multiplexage, et il devient pratiquement impossible de 0 communiquer selon un protocole synchrone.

Lorsqu'il est possible d'utiliser des lignes spéciales à quatre fils ou encore lorsque les modems sont reliés par un câblage spécialement installé à cette fin dans une entreprise, de multiples possibilités sont permises et les modems récents vont même s'adapter d'eux-mêmes aux lignes auxquelles ils sont reliés.

5.5 Modem intelligent

L'appellation modem intelligent nous vient du constructeur américain Hayes qui, le premier, a mis en marché un modern programmable. Jusque-là, les modems étaient des appareils passifs qui informaient l'ordinateur auquel ils étaient reliés que le téléphone sonnait par le signal de contrôle RI, puis ils attendaient les signaux de contrôle de l'ordinateur pour décrocher, etc.

Le Smartmode MTM de Hayes a mis fin à l'utilisation de ce lourd protocole matériel régissant les échanges de l'ordinateur avec son modem. Il comprend une unité de composition automatique nous permettant de répondre à un appel ainsi qu'une série de registres internes contenant les valeurs, nombres et numéros de téléphone qui font partie de sa configuration logicielle. Tous les modems récents ont adopté cette façon de faire et ont amélioré ou adapté les commandes et les registres internes de l'appareil à l'évolution subie.

Les commandes Hayes de même que les commandes que les autres fabricants ont ajoutées n'ont jamais été normalisées; ce qui occasionne souvent des incompatibilités entre les logiciels de communication et les modems. Le CCITT a publié un avis spécifiant des commandes normalisées en s'inspirant des commandes Hayes, mais ce standard n'est que très peu appliqué.  Vous trouverez ci-contre quelques commandes Haves. Il faut d'abord comprendre que le modem démarre presque toujours en mode commande à l'allumage, c'est-à-dire qu'il n'est pas en communication avec l'extérieur mais avec l'ordinateur auquel il est relié.  Lorsque ce n'est pas le cas, il suffit de lui transmettre une suite de caractères prédéterminés. La séquence d'échappement ou Escape Séquence), et il revient en mode commande. Dans ce mode, il ne communique qu'avec l'ordinateur et reçoit des commandes et retourne des messages ou des codes d'erreur. Lorsqu'on a terminé de programmer ou de transmettre les commandes au modem, il suffit de lui transmettre la commande qui lui demande d'établir la communication. À partir de ce moment, tout ce qu'on lui transmettra sera retransmis au modem éloigné, et tout ce qu'il recevra de ce modem éloigné sera retransmis à l'ordinateur. Chaque commande doit être précédé des caractères AT, c'est-à-dire du caractère «A» suivi du caractère «T». Pendant la réception d'une commande, le modem reçoit la séquence de caractères dans une mémoire tampon interne, et ne va exécuter cette commande qu'à la réception du «CR» ou retour de chariot final. Ceci nous permet de corriger rudimentairement les commandes transmises : le modem reconnaît certains caractères de contrôle ASCII tels que le «BS» pour reculer d'un caractère dans la ligne de commande.

+++ :   Séquence d'échappement.  Permet de revenir au mode commande. La transmission de chacun des «+» , doit être séparée par environ une seconde.

A   : Répondre (Answer). Le modem décroche la ligne et émet la fréquence correspondant au modem appelé.

D   :     Composer (Dial). La commande est suivie du numéro et de modificateurs : T, pour la composition par tonalités; P pour la composition par impulsions; «,» (virgule) pour ajouter une pause d'environ deux secondes ; «;»(point-virgule) pour que le modem revienne en mode commande après la composition. La commande ATDR est la commande de recomposition du dernier numéro composé.

E   : Écho. Suivie de 0, le modem ne retournera plus l'écho des caractères de commande alors que si elle est suivie d'un 1, le modem fera l'écho des caractères de commandes vers l'ordinateur.

F   : Duplex.  Suivie d'un 0, le modem fonctionnera en demi-duplex alors que suivie d'un 1, le modem fonctionnera en duplex complet.

H  :      Raccroche (Hook up), Le modem raccroche immédiatement la ligne.

M :Moniteur.  Suivie de 0, le haut-parleur est débranché; suivie de 1, le haut-parleur fonctionnera jusqu'à l'établissement de la communication avec le modem éloigné alors que suivie de 2, le haut-parleur demeurera toujours fonctionnel.

O  : Retour au mode communication (On line). Le modem retourne immédiatement au mode communication.

S   : Lecture-écriture des registres. Les registres sont nommés SO, SI, S2, etc. La commande S constituera une commande de lecture si elle est suivie d'un ? alors que lorsqu'elle est suivie du signe «=» et d'une valeur, elle écrira cette valeur dans le registre correspondant.  Par exemple, ATS3? demande la lecture du registre S3 alors que la commande ATS6=8 demande au modem d'écrire la valeur 8 dans le registre S6.

V  : Verbal (Verbose). Suivie de 0, le modern en mode commande ne répondra plus aux commandes que par un code numérique. Suivie de 1, le modem en mode commande répondra aux diverses commandes par des messages et des phrases complets.

Z   : Remise à zéro. C'est la commande de réinitialisation complète de la car-te modem. Tous les registres retourneront aux valeurs par défaut établies par le fabricant.

5.6 Tests de fonctionnement

Il existe des logiciels et des accessoires électriques permettant de vérifier le bon fonctionnement d'un lien de communication par modem.  La recommandation V.54 du CCITT définit les quatre boucles qu'il faut vérifier pour diagnostiquer les problèmes de communication.

La première boucle branche la sortie sérielle du terminal ou de l'ordinateur à l'entrée de ce même ordinateur: ce test vérifie le fonctionnement de l'UART de l'ordinateur. La deuxième boucle branche la sortie analogique du modem émetteur à son entrée analogique: ce test vérifie le fonctionnement du modem émetteur. La troisième boucle branche l'entrée analogique du modem récepteur à sa sortie analogique: ce test vérifie l'intégrité du canal de communication.  Enfin, la quatrième boucle branche la sortie sérielle du modem récepteur à son entrée sérielle: ce test permet de vérifier le fonctionnement du modem récepteur (figure 5.7).

Figure 5.7  : Tests de fonctionnement d'un lien par modem

cours transmission RS-232 RS-422 RS-423 RS-449 synchrone asynchrone Code N dont M simplex semi-duplex telecommunication

Révisé le :21-12-2017 www.technologuepro.com Facebook Twitter RSS